1-6mm齒輪跳動檢查儀
簡介:1-6mm齒輪跳動檢查儀用于檢查6級或6級以下精度圓柱,圓錐外齒和齒輪及蝸輪蝸桿的徑向跳動或端面跳動。
1-6mm齒輪跳動檢查儀用于檢查6級或6級以下精度圓柱,圓錐外齒和齒輪及蝸輪蝸桿的徑向跳動或端面跳動。
1-6mm齒輪跳動檢查儀工作原理:齒圈徑向跳動△Fr,在齒輪一轉范圍內,測頭在槽齒輪上,與齒高中部雙面接觸,測頭相對于齒輪軸線的最變動量。為此,齒圈徑向跳動的檢查是借具有原始齒條形的測量頭進行。檢查時將裝在芯軸上的被檢查齒輪,固定在儀器兩頂針間內,并用指示表示出測量頭位置對齒輪轉動軸線的跳動量。
1-6mm齒輪跳動檢查儀參數:被測工件最大直徑是150mm;測量長度300mm;兩頂針間最大距離是190mm,測量支架轉動范圍正負90度,指針分度值是0.001mm;單臺凈重150kg左右。
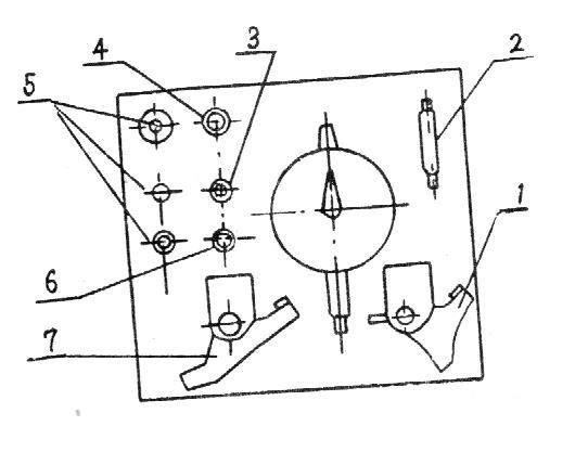
1-6模數齒輪跳動儀配套附件如下:

1.直角杠桿:供測端面跳動。2.扳手:供裝拆側頭。3.球形測量頭:供直角和水平杠桿用。4.接頭:供接長圓錐測量頭。5.圓錐測量頭:供測200壓力家,模數1-6mm齒輪。6.千分表球形測量頭:供測圓柱或圓錐徑向跳動。7.水平杠桿:供測內齒和齒輪及內孔徑向跳動。
蘇州1-6mm齒輪跳動檢查儀、上海1-6mm齒輪跳動檢查儀、濟南1-6mm齒輪跳動檢查儀、德州1-6mm齒輪跳動檢查儀、齊齊哈爾1-6mm齒輪跳動檢查儀、大連1-6mm齒輪跳動檢查儀、沈陽1-6mm齒輪跳動檢查儀、遼寧1-6mm齒輪跳動檢查儀、昆明1-6mm齒輪跳動檢查儀、營口1-6mm齒輪跳動檢查儀、秦皇島1-6mm齒輪跳動檢查儀、河北1-6mm齒輪跳動檢查儀、石家莊1-6mm齒輪跳動檢查儀、東北1-6mm齒輪跳動檢查儀、華北1-6mm齒輪跳動檢查儀、西安1-6mm齒輪跳動檢查儀、山西1-6mm齒輪跳動檢查儀、陜西1-6mm齒輪跳動檢查儀、太原1-6mm齒輪跳動檢查儀、河南1-6mm齒輪跳動檢查儀、洛陽1-6mm齒輪跳動檢查儀、四川1-6mm齒輪跳動檢查儀、成都1-6mm齒輪跳動檢查儀、輕慶1-6mm齒輪跳動檢查儀、德陽1-6mm齒輪跳動檢查儀、攀枝花1-6mm齒輪跳動檢查儀、綿陽1-6mm齒輪跳動檢查儀、宜賓1-6mm齒輪跳動檢查儀、南充1-6mm齒輪跳動檢查儀、無錫1-6mm齒輪跳動檢查儀、南通1-6mm齒輪跳動檢查儀、寧波1-6mm齒輪跳動檢查儀、揚州1-6mm齒輪跳動檢查儀、湖南1-6mm齒輪跳動檢查儀、長沙1-6mm齒輪跳動檢查儀、包頭1-6mm齒輪跳動檢查儀、山東1-6mm齒輪跳動檢查儀、青島1-6mm齒輪跳動檢查儀、濰坊1-6mm齒輪跳動檢查儀、淄博1-6mm齒輪跳動檢查儀、威海1-6mm齒輪跳動檢查儀、蕪湖1-6mm齒輪跳動檢查儀、濟寧1-6mm齒輪跳動檢查儀、臨沂1-6mm齒輪跳動檢查儀、舟山1-6mm齒輪跳動檢查儀、長春1-6mm齒輪跳動檢查儀、淮南1-6mm齒輪跳動檢查儀、安徽1-6mm齒輪跳動檢查儀、廣西1-6mm齒輪跳動檢查儀、南寧1-6mm齒輪跳動檢查儀、柳州1-6mm齒輪跳動檢查儀、寶雞1-6mm齒輪跳動檢查儀、張家口1-6mm齒輪跳動檢查儀、馬鞍山1-6mm齒輪跳動檢查儀、孝感1-6mm齒輪跳動檢查儀、常德1-6mm齒輪跳動檢查儀、蚌埠1-6mm齒輪跳動檢查儀、徐州1-6mm齒輪跳動檢查儀、廈門1-6mm齒輪跳動檢查儀、俄羅斯1-6mm齒輪跳動檢查儀、英國1-6mm齒輪跳動檢查儀、越南1-6mm齒輪跳動檢查儀、意大利1-6mm齒輪跳動檢查儀、德國1-6mm齒輪跳動檢查儀、韓國1-6mm齒輪跳動檢查儀、捷克1-6mm齒輪跳動檢查儀、沙特1-6mm齒輪跳動檢查儀、印度1-6mm齒輪跳動檢查儀、西班牙1-6mm齒輪跳動檢查儀、美國1-6mm齒輪跳動檢查儀
我公司還生產花崗巖平臺、大理石平板、機械滑臺,單圍普通平臺、三維柔性焊接平臺、T型槽平臺、刮研平板、T型槽平板、T型槽工作臺、u型槽鑄鐵平臺、地軌平臺、鑄鐵方箱、墊箱、鑄鐵平尺、直角尺、油槽平臺、機床平板、重型鑄鐵平臺、v型鐵、v型架、配重鐵、偏擺儀、鑄鐵件、床身鑄件、風電試驗平臺、平支架、鑄造平臺、大型T型槽平臺、T型槽焊接平臺、T型槽拼接平板、T型槽鑄鐵平板、鑄鐵平臺、平板、精密檢測平臺、焊接平臺、劃線平臺、裝配平臺、電機試驗臺、落地鏜床工作臺、T型槽鉚焊平臺、機床工作臺、試驗平臺、火工平臺、圓形平臺、基礎平臺、鉚焊平臺、機床墊鐵、電梯配重塊、減震墊鐵、斜鐵、條形槽式鑄鐵平臺、大理石直角尺、機床鑄件、T型槽地軌、拼接彎板、地軌平臺、搖臂鉆工作臺、工裝平臺、裝配平臺、鏜銑床工作臺、研磨平臺、刻線平臺、水泵用試驗平臺、校軸平臺、配重鐵、三坐標平臺、壓砂平臺、組合拼接平臺等大型鑄件和機床量具。
公司本著以質量求生存,以信譽求發展的宗旨,集設計、制造、安裝調試一站式為新老客戶服務,歡迎新老客戶洽談業務,了解更多產品詳情。http://m.xxylhg.com.cn 電話 0317-8250620 8258735 傳真 0317-8039656 地址 泊頭市交河西開發區
相關資訊
電話:0317-8250620
0317-8258735
傳真:0317-8258735
手機:15076771899
聯系人:高經理
地址:泊頭市交河開發區
新浪微博
騰訊微博






